Pont de Wheatstone (fig 1)
Une pile P débite dans les résistances a et R d'une part et b et X d'autre part. a et b sont des résistances connues permettant de faire varier le rapport a/b. R est une résistance connue variable (boîte de résistances). X est la résistance à mesurer. Quand le courant dans le galvanomètre G est nul, a/R = b/X, donc X=(b/a) R. Pont à fil divisé (fig 2)
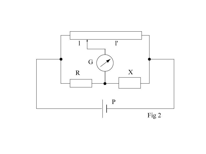
Un curseur se déplaçant sur un fil résistant calibré fait varier le rapport l/l'. Quand le galvanomètre indique zéro, l/l'=R/X, donc X=(l'/l)R. Le curseur se déplace sur une piste linéaire ou circulaire, il porte une aiguille indiquant directement X pour diverses valeurs de R. Pont de Thomson (fig 3)
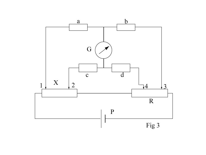
Ce pont sert à mesurer la résistance X entre deux points, 1 et 2, de conducteurs de forte section (on évite ainsi l'imprécision due aux bornes d'extrémité). On choisit a,b,c et d pour que a/b=c/d. Un curseur se déplace sur le fil résistant calibré faisant varier la résistance R entre les points 3 et 4. Quand le galvanomètre indique zéro, a/b=c/d=X/R, donc X=(a/b) R.