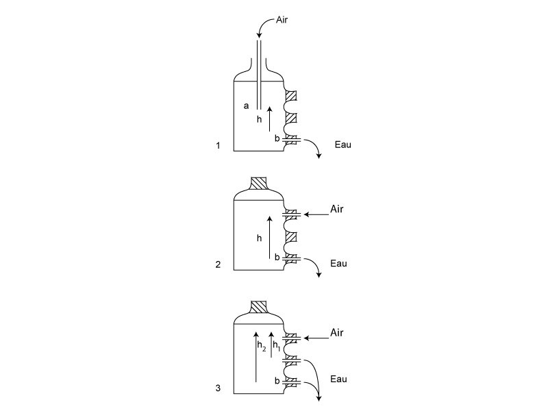
Fin 19e siècleFlacon en verre épais diamètre : 11,5 cm hauteur totale : 29 cmLes quatre orifices sont fermés soit par des bouchons pleins soit par des bouchons traversés par de petits tubes.Le vase de Mariotte à deux orifices permet d’obtenir un écoulement constant (figure 1). Le tube vertical sert à l’entrée d’air, le tube horizontal à l’écoulement d’eau. En a on a la pression atmosphérique ; l’écoulement en b est dû à la pression de la colonne h. Il est constant tant que l’eau n’est pas au-dessous de a.On obtient le même résultat avec deux tubes latéraux, l’accès supérieur fermé (figure 2).Avec l’entrée d’air par un tube latéral et la sortie d’eau par les autres (figure 3) on peut vérifier la loi de Toricelli sur les vitesses d’écoulement.
Inventaire : Ph 0.96